珀金斯柴油機1206E配件銷售中心油底殼墊、T414441壓縮機、氣門、搖臂軸、
項目 零配件號碼 最近的部分號碼 描述
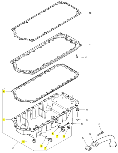
1 1 油底殼
12 3681 K044 1 3681 K044 密合墊 -油底殼
13 3575 A074 1 3575 A074 管 - 油的吸入
14 3683 H005 1 3683 H005 密合墊
15 2314 H004 2 2314 H004 螺旋
16 2314 H007 2 2314 H007 螺旋
17 2316 T052 6 2316 T052 螺旋
18 T407498 4 T407498 限制器
19 2314 K161 28 2314 K161 螺旋

項目 零配件號碼 最近的部分號碼 描述
2 T405964 1 T405964 油底殼
11 T406564 1 T406564 油底殼承接器

項目 零配件號碼 最近的部分號碼 描述
3 1 油底殼
4 3681 K041 1 3681 K041 密合墊 -油底殼
5 32186405 2 32186405 栓塞
6 T407088 2 T407088 密封 - O 的圈
7 T405544 1 T405544 開關(guān)
8 CH12137 1 CH12137 密封 - O 的圈
9 2817 A002 1 2817 A002 接線夾
10 T407498 26 T407498 限制器

項目 零配件號碼 最近的部分號碼 描述
1 T414441 1 T414441 壓縮機
2 2314 J603 2 2314 J603 螺旋
3 T417387 1 T417387 承接器
3 T405200 1 T417387 承接器
4 2413689 1 2413689 密封 - O 的圈
5 T405655 1 T405655 壓縮機傳動機構(gòu)
6 2413689 1 2413689 密封 - O 的圈
7 T414253 1 T414253 栓塞
8 2313 N106 2 2313 N106 圖釘
9 T407579 2 T407579 螺帽
10 T409969 1 T409969 蓋
13 2314 J003 2 2314 J003 螺旋
14 T405962 1 T405962 托架
15 2314 J003 3 2314 J003 螺旋
16 2314 H004 1 2314 H004 螺旋

項目 零配件號碼 最近的部分號碼 描述
1 T406935 1 T406935 水管 -冷卻器
2 2481 B020 1 2481 B020 水管夾
3 2481 B020 1 2481 B020 水管夾
4 3355 A017 1 3355 A017 承接器
5 2411 D016 1 2411 D016 墊圈
6 T413075 1 T413075 水管 -冷卻器
7 2481 B020 1 2481 B020 水管夾
8 2481 B020 1 2481 B020 水管夾
9 3355 A017 1 3355 A017 承接器
10 2411 D016 1 2411 D016 墊圈
11 T410364 1 T410364 水管 -油
12 3355 E009 1 3355 E009 連接
13 2415 D053 1 2415 D053 墊圈
14 3218 R036 1 3218 R036 班卓琴螺拴
15 2411 D010 2 2411 D010 墊圈

項目 零配件號碼 最近的部分號碼 描述
1 T405925 1 T405925 搖桿組合
21 T406777 12 T406777 進氣門
22 T412573 12 T412573 密封 - 氣門轉(zhuǎn)桿
22 T407967 12 T407967 密封 - 氣門轉(zhuǎn)桿
23 T417519 12 T417519 氣門彈簧
23 3174 A026 12 T417519 氣門彈簧
24 T406809 12 T406809 承件
25 3142 W003 24 3142 W003 氣門筒夾
26 T407502 6 T407502 結(jié)橋塊
26 T406575 6 T407502 結(jié)橋塊
27 T405211 12 T405211 排氣氣門
28 T412573 12 T412573 密封 - 氣門轉(zhuǎn)桿
28 T407967 12 T407967 密封 - 氣門轉(zhuǎn)桿
29 T417713 12 T417713 氣門彈簧
29 3174 A028 12 T417713 氣門彈簧
30 T406809 12 T406809 承件
31 3142 W003 24 3142 W003 氣門筒夾
32 T407502 6 T407502 結(jié)橋塊
32 T406575 6 T407502 結(jié)橋塊
33 T416277 1 T416277 承件

項目 零配件號碼 最近的部分號碼 描述
2 T405681 1 T405681 搖臂軸組合
5 T406016 11 T406016 螺拴
6 2316 A901 1 2316 A901 螺旋
7 3174 A024 1 3174 A024 搖臂軸彈簧
8 2727 A015 1 2727 A015 CIRCLIP
9 T407095 5 T407095 搖臂軸彈簧
10 2727 A015 5 2727 A015 CIRCLIP
11 T407570 6 T407570 搖臂組合
16 T406261 6 T406261 搖臂組合

項目 零配件號碼 最近的部分號碼 描述
12 1 搖臂
13 T407571 1 T407571 搖臂氣門座圈
14 T406029 1 T406029 導入
15 1 碗

項目 零配件號碼 最近的部分號碼 描述
17 1 搖臂
18 T407571 1 T407571 搖臂氣門座圈
19 T406029 1 T406029 導入
20 1 碗

項目 零配件號碼 最近的部分號碼 描述
27 T407502 1 T407502 結(jié)橋塊
28 2 承件
35 T407502 1 T407502 結(jié)橋塊
36 2 承件

項目 零配件號碼 最近的部分號碼 描述
1 T408610 1 T408610 油填隙料
8 2314 H004 2 2314 H004 螺旋
9 T407228 1 T407228 板
10 3683 A022 1 3683 A022 密合墊
11 2314 H003 2 2314 H003 螺旋
